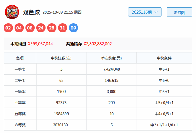
双色球第2025116期开出奖号:红球02、04、08、24、28、31,蓝球09。当期红球三区比为3:0:3,奇偶比为1:5,和值为97,跨度为29,蓝球开出在第三区。
高财第2025117期双色球分析:
三区比:上期红球三区比为3:0:3,红一、三区较热,红二区断区,最近10期红球三区比为24:18:18,红一区表现较热。本期预计红三区走冷,红一区热出,看好三区比3:2:1。
一号球上期开出奖号02,出现在红一区,最近10期一号球开出范围在01-09之间,全部出现在红一区,本期一号球注意2路号码,精选一码05。
二号球上期开出奖号04,出现在红一区,最近10期二号球开出范围在03-20之间,其中有8期在红一区开出,有2期在红二区开出,本期二号球注意0路号码,精选一码06。
三号球上期开出奖号08,出现在红一区,最近10期三号球开出范围在08-21之间,其中有6期在红一区开出,有4期在红二区开出,本期三号球注意0路号码,精选一码09。
四号球上期开出奖号24,为第三区红球,最近10期四号球开出范围在13-28之间,其中有7期在红二区开出,红三区开出3期,本期四号球注意1路号码,精选一码19。
五号球上期开出奖号28,为第三区红球,最近10期五号球开出范围在16-31之间,其中有4期在红二区开出,红三区开出6期,本期五号球注意1路号码,精选一码22。
六号球上期开出奖号31,为第三区红球,最近10期六号球开出范围在19-33之间,其中有1期在红二区开出,红三区开出9期,本期六号球注意1路号码,精选一码31。

蓝球分析(定义:01-04为一区,05-08为二区,09-12为三区,13-16为四区):上期蓝球开出三区号码09,最近10期蓝球四区落号比为3:2:3:2,总体上各区蓝球走势基本平衡,本期蓝球看好在第四区开出,独蓝参考14。

高财双色球第2025117期综合推荐:
15+5大复式参考:05、06、09、10、11、16、17、18、19、22、24、25、28、29、31 + 08、12、13、14、16
8+2小复式参考:05、06、09、16、18、19、22、31 + 12、14
单注一注参考:05、06、09、19、22、31 + 14
声明:本站所有的文章均搜集自互联网,专家文章请谨慎参考,提醒:彩票是随机游戏,不存在规律!