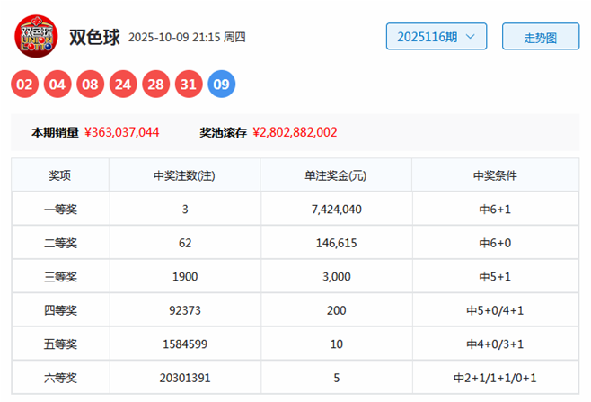
开奖回顾:第2025116期双色球奖号为02、04、08、24、28、31+09。区间比:3:0:3,奇偶比:1:5,首尾间距:29。
红球区间:上期红一区和:上期红:上期红三区表现活跃,分别开出3码,红二区断区。本期看好红三区热出,防红二区走冷,区间比关注:2:1:3。
奇偶分析:上期偶数号码大热,出现5个。本期预计奇数红球转热,奇偶比参考4:2。
龙头分析:上期开出龙头号码02,龙头重复开出,本期看好龙头走低,参考龙头01。
凤尾分析:上期凤尾号码为31,上升1点,本期看好凤尾转向下降,关注凤尾26。
同尾号码:最近10期有6期奖号包含同尾红球,本期不看好同尾红球出现。

蓝球分析:小 号蓝球近期走势疲软,本期注意小 号蓝球回补,参考蓝球02、03、04、08。

第2025117期双色球推荐:
红胆参考:14 26
15+5大底:01 05 09 10 14 15 16 21 23 25 26 27 28 29 30 + 02 03 04 07 08
9+3小单:01 09 10 14 15 23 25 26 29 + 02 03 04
单注6+1:01 09 14 23 25 26 + 02
声明:本站所有的文章均搜集自互联网,专家文章请谨慎参考,提醒:彩票是随机游戏,不存在规律!